-
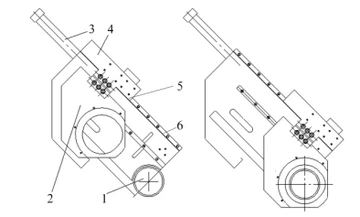
Beskyttelsesforanstaltninger til fremføringsmekanismen af den ydre ringløbsbaneslibemaskine af ...Jul 18, 2023Abstrakt: Baseret på introduktionen af arbejdsprocessen for de øvre og nedre materialemekanismer i den 3MZ2325A fuldautomatiske slibemaskine med ...
-
Ny tilgang til slibning af præcisions keramiske lejekuglerJul 11, 2023Abstrakt: En metode til lapning af præcisions keramiske lejekugler baseret på End Plane Grinding Lapping (EPGL) mode er fremsat i dette papir, som ...
-
2023 april den tredje uge WBM teknisk viden: transformationsteknologi for kold retningsmaskineApr 18, 2023Nogle lejefabrikker har et presserende behov for at forbedre deres nuværende koldstyremaskiner for at forbedre nøjagtigheden af deres dele. Nogle...
-
2023 februar den fjerde uge WBM teknisk viden: Årsagsanalyse og forbedringsforanstaltninger til r...Feb 28, 2023Forord En bruger bruger et parti af lejet stålvalset GCr15-Y med 18 mm-specifikationen af Nangang, og midten er udglødet i en kontinuerlig udglød...
-
2023 januar Den første uge WBM teknisk viden: Integreret intelligent leje til den nye generation ...Jan 03, 2023Gennem sundhedsovervågning vil udviklingen af intelligente lejeløsninger hjælpe med at forbedre pålideligheden af flymotorer. Formålet med dett...
-
2. december 2. uge WBM teknisk viden: Højhastigheds dybe rillekuglelejer til EV og HEV nye energi...Dec 11, 2022NTN vil yderligere fremme markedsudviklingen af højhastigheds rillekuglelejer. Det højhastigheds dybe rille kugleleje udviklet af NTN Co., Ltd. (...
-
2022 september den fjerde uge WBM teknisk viden: Design af stempling af store koniske ruller Cold...Sep 23, 2022Abstrakt: Færdig produkt konisk rulle, hvis halve vinkel er større end 3 grader, kaldes store koniske ruller med kold retning. Ved at bruge vandret...
-
2022 september den tredje uge WBM teknisk viden: glat slibning af rullende stålkuglerSep 05, 20221 Poleringsprincip Poleringsprocessen udføres på en speciel værktøjsmaskine, polermaskinen. Der er to varmebehandlede legerede støbejernsplader (be...
-
WBM Technology Knowledge: Logistics Management Of Bearing IndustryAug 01, 2022Kernen i moderne virksomhedsledelse er processen med at designe, kontrollere og styre flowet og hastigheden af mennesker, logistik og information...
-
WBM Technology Knowledge: Design og monteringsproblemer med bærende metalskjoldJul 04, 2022Beregningen af emnestørrelse og monteringskvalitet af metalstøvdæksel er et af de vigtige elementer for at sikre lejets serviceydelse med denne t...
-
WBM Teknologi Viden: Friktionsmomentmåleinstrument til koniske rullelejerJun 29, 2022Arbejdsprincippet, hovedstrukturen og servicetilstanden for MCLJ - 01 friktionsmomentmåleinstrument introduceres.
-
WBM Technology Knowledge: Diskussion om indflydelsesfaktorer af stålkuglens kvalitet på vibration...May 23, 2022Vigtigste faktorer, der påvirker vibrationer og støj fra lejer og modforanstaltninger for at reducere støj og unormal lyd fra stålkuglelejer.











